韦德online(中国)概述

技术参数
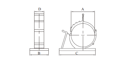
| 编 号 Item NO. | Aφ(mm) | B(mm) | C(mm) | D(mm) |
| TS-0608 | 06-08 | 9.0 | 25.5 | 10 |
| TS-1013 | 10-13 | 7.5 | 37.0 | 12.4 |
| TS-1722 | 17-22 | 21.5 | 41.5 | 11 |

| 编 号 Item NO. | Aφ(mm) | B(mm) | C(mm) | D(mm) |
| TS-0608 | 06-08 | 9.0 | 25.5 | 10 |
| TS-1013 | 10-13 | 7.5 | 37.0 | 12.4 |
| TS-1722 | 17-22 | 21.5 | 41.5 | 11 |