韦德online(中国)概述

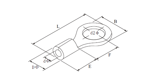
技术参数
| 编 号 Item NO. | 美制 螺栓号 | 螺栓口直径 screw dia. d2(mm) | 尺寸Dimension | ||||||
| B (mm) | L (mm) | Fφ (mm) | Eφ (mm) | Dφ (mm) | dφ (mm) | ||||
| 导线截面 0.5~1.5mm² (美国线规22~16) 最大电流:Imax=19A | RNB 1.25-3 | #4 | 3.2 | 5.7 | 12.6 | 4.95 | 4.8 | 3.4 | 1.7 |
| RNBS 1.25-3.5 | #6 | 3.7 | 5.7 | 12.6 | 4.95 | ||||
| RNBM 1.25-3.5 | #6 | 3.7 | 6.6 | 14.4 | 6.3 | ||||
| RNBL 1.25-3.5 | #6 | 3.7 | 8.0 | 15.8 | 7.0 | ||||
| RNBS 1.25-4 | #8 | 4.3 | 6.6 | 14.4 | 6.3 | ||||
| RNBL 1.25-4 | #8 | 4.3 | 8.0 | 15.8 | 7.0 | ||||
| RNB 1.25-5 | #10 | 5.3 | 8.0 | 15.8 | 7.0 | ||||
| RNB 1.25-6 | 1/4 | 6.4 | 11.6 | 21.8 | 11.1 | ||||
| RNB 1.25-8 | 5/16 | 8.4 | 11.6 | 21.8 | 11.1 | ||||
| RNB 1.25-10 | 3/8 | 10.5 | 13.6 | 25.5 | 13.6 | ||||
| 导线截面 1.5~2.5mm² (美国线规16~14) 最大电流:Imax=27A | RNB 2-3 | #4 | 3.2 | 6.6 | 12.3 | 4.3 | 4.8 | 4.1 | 2.3 |
| RNBS 2-3.5 | #6 | 3.7 | 6.6 | 12.3 | 4.3 | ||||
| RNBM 2-3.5 | #6 | 3.7 | 6.6 | 16.0 | 7.0 | ||||
| RNBL 2-3.5 | #6 | 3.7 | 8.5 | 16.8 | 7.0 | ||||
| RNBS 2-4 | #8 | 4.3 | 6.6 | 16.0 | 7.75 | ||||
| RNBL 2-4 | #8 | 4.3 | 8.5 | 16.8 | 7.25 | ||||
| RNBS 2-5 | #10 | 5.3 | 8.5 | 16.8 | 7.75 | ||||
| RNBL 2-5 | #10 | 5.3 | 9.5 | 16.8 | 7.25 | ||||
| RNB 2-6 | 1/4 | 6.4 | 12.0 | 21.8 | 11.0 | ||||
| RNB 2-8 | 5/16 | 8.4 | 12.0 | 21.8 | 11.0 | ||||
| RNB 2-10 | 3/8 | 10.5 | 13.6 | 25.5 | 13.9 | ||||
| RNB 2-12 | 1/2 | 13.0 | 19.2 | 3.1 | 16.5 | ||||
| 导线截面 2.5~4mm² (美国线规14~12) 最大电流:Imax=37A | RNB 3.5-4 | #8 | 4.3 | 8.0 | 18.0 | 7.7 | 6.0 | 5.0 | 3.0 |
| RNBS 3.5-5 | #10 | 5.3 | 8.0 | 18.0 | 7.7 | ||||
| RNBL 3.5-5 | #10 | 5.3 | 12.0 | 21.4 | 7.7 | ||||
| RNB 3.5-6 | 1/4 | 6.4 | 12.0 | 21.4 | 7.7 | ||||
| 导线截面 4~6mm² (美国线规12~10) 最大电流:Imax=48A | RNB 5.5-3.5 | #6 | 3.7 | 7.2 | 15.7 | 5.9 | 6.8 | 5.6 | 3.4 |
| RNBS 5.5-4 | #8 | 4.3 | 7.2 | 15.7 | 5.9 | ||||
| RNBL 5.5-4 | #8 | 4.3 | 9.5 | 19.8 | 8.3 | ||||
| RNB 5.5-5 | #10 | 5.3 | 9.5 | 19.8 | 8.3 | ||||
| RNB 5.5-6 | 1/4 | 6.4 | 12.0 | 25.8 | 13.0 | ||||
| RNB 5.5-8 | 5/16 | 8.4 | 15.0 | 28.0 | 13.7 | ||||
| RNB 5.5-10 | 3/8 | 10.5 | 15.0 | 28.0 | 13.7 | ||||
| RNB 5.5-12 | 1/2 | 19.2 | 19.2 | 32.4 | 16.0 | ||||
| 导线截面 6~10mm² (美国线规8) 最大电流:Imax=62A | RNB 8-4 | #8 | 4.3 | 8.8 | 23.8 | 9.3 | 8.5 | 7.2 | 4.5 |
| RNBS 8-5 | #10 | 5.3 | 8.8 | 23.8 | 11.1 | ||||
| RNBM 8-5 | #10 | 5.3 | 12.0 | 23.8 | 9.3 | ||||
| RNBL 8-5 | #10 | 5.3 | 15.0 | 29.8 | 13.8 | ||||
| RNBS 8-6 | 1/4 | 6.4 | 12.0 | 23.8 | 9.3 | ||||
| RNBL 8-6 | 1/4 | 6.4 | 15.0 | 29.8 | 13.8 | ||||
| RNB 8-8 | 5/16 | 8.4 | 15.0 | 29.8 | 13.8 | ||||
| RNB 8-10 | 3/8 | 10.5 | 15.0 | 29.38 | 13.8 | ||||
| RNB 8-12 | 1/2 | 13.0 | 20.0 | 33.5 | 15.0 | ||||
| 导线截面 10~16mm² (美国线规6) 最大电流:Imax=88A | RNB 14-4 | #8 | 4.3 | 12.0 | 29.8 | 13.3 | 10.5 | 9.0 | 5.8 |
| RNB 14-5 | #10 | 5.3 | 12.0 | 29.8 | 13.3 | ||||
| RNBS 14-6 | 1/4 | 6.4 | 12.0 | 29.8 | 13.3 | ||||
| RNBL 14-6 | 1/4 | 6.4 | 16.0 | 32.8 | 13.3 | ||||
| RNB 14-8 | 5/16 | 8.4 | 16.0 | 32.8 | 14.5 | ||||
| RNB 14-10 | 3/8 | 10.5 | 16.0 | 32.8 | 14.5 | ||||
| RNB 14-12 | 1/2 | 13.0 | 22.0 | 41.0 | 19.5 | ||||
| 导线截面 16~25mm²(美国线规4) 最大电流:Imax=115A | RNBS 22-5 | #10 | 5.3 | 12.2 | 33.2 | 14.5 | 12.0 | 11.5 | 7.7 |
| RNBL 22-5 | #10 | 5.3 | 16.5 | 33.7 | 13.5 | ||||
| RNBS 22-6 | 1/4 | 6.4 | 12.2 | 32.2 | 14.5 | ||||
| RNBL 22-6 | 1/4 | 6.4 | 6.5 | 33.7 | 13.5 | ||||
| RNB 22-8 | 5/16 | 8.4 | 16.5 | 33.7 | 13.5 | ||||
| RNB 22-10 | 3/8 | 10.5 | 16.5 | 33.7 | 13.5 | ||||
| RNB 22-11 | 7/16 | 11.5 | 22.0 | 42.5 | 19.5 | ||||
| RNB 22-12 | 1/2 | 13.0 | 22.0 | 42.5 | 19.5 | ||||
| 导线截面 35~50mm²(美国线规2) 最大电流:Imax=160A | RNB 38-5 | #10 | 5.3 | 15.3 | 39.0 | 18.3 | 14.0 | 13.3 | 9.4 |
| RNB 38-5 | 1/4 | 6.4 | 15.3 | 39.0 | 18.3 | ||||
| RNBS 38-8 | 5/16 | 8.4 | 15.3 | 39.0 | 18.3 | ||||
| RNBL 38-8 | 5/16 | 8.4 | 22.0 | 42.7 | 17.7 | ||||
| RNBS 38-10 | 3/8 | 10.5 | 15.3 | 39.0 | 18.3 | ||||
| RNBL 38-10 | 3/8 | 10.5 | 22.0 | 42.7 | 17.7 | ||||
| RNB 38-11 | 7/16 | 11.5 | 22.0 | 42.7 | 17.7 | ||||
| RNB 38-12 | 1/2 | 13.0 | 22.0 | 42.7 | 17.7 | ||||


中文简体
English
ภาษาไทย
日本語
韦德online(中国)询单

收缩所有详情