韦德online(中国)概述

技术参数
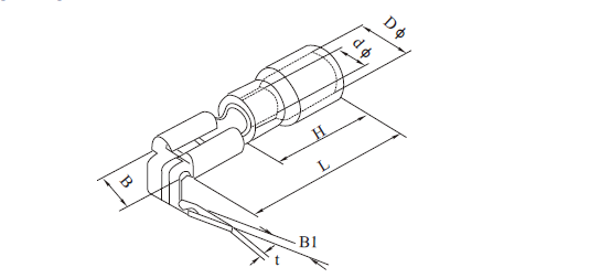
| 编 号 Item NO. | Mema Tab (mm) | 尺寸Dimension | |||||||
| B (mm) | B1 (mm) | H (mm) | Dφ (mm) | dφ (mm) | L (mm) | ||||
| 导线截面: 0.5~1.5mm² (22~16) 最大电流:Imax=10A | PBDD1.25-250 | 0.8×6.35 | 7.4 | 6.3 | 10.0 | 3.8 | 1.7 | 21.5 | |
| 导线截面: 1.5~2.5mm (16~14) 最大电流:Imax=15A | PBDD2-250 | 0.8×6.35 | 7.4 | 6.3 | 10.0 | 4.3 | 2.3 | 21.5 | |
| 导线截面: 4~6mm (12~10) 最大电流:Imax=24A | PBDD5.5-250 | 0.8×6.35 | 7.4 | 6.3 | 14.0 | 5.7 | 3.4 | 25.0 | |


中文简体
English
ภาษาไทย
日本語
韦德online(中国)询单
收缩所有详情